全球主机交流论坛

标题: 一个月终于在审核了 [打印本页]

作者: 大雄。    时间: 2017-6-19 17:56
标题: 一个月终于在审核了
第一次北岸
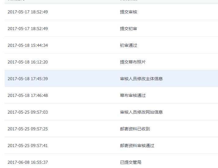
5月19提交到现在终于在审核了  这北岸速度也是够快的
(, 下载次数: 0)
作者: yumijie    时间: 2017-6-19 17:57
恭喜恭喜

话说我想重新北岸添加域名不知道怎么搞了
作者: tsk    时间: 2017-6-19 18:20
此生可能不会北岸……
作者: im286    时间: 2017-6-19 18:37
终于还是入坑了
作者: tager    时间: 2017-6-19 18:38
那个云北岸
作者: tooko    时间: 2017-6-19 18:48
我的也是,腾讯的,这效率....
作者: jshkk    时间: 2017-6-19 19:25
广州10天
作者: skya    时间: 2017-6-19 19:36
审核个幕布照片这么慢?
作者: sora    时间: 2017-6-19 19:57
企鹅提交北岸现在速度就这样.
作者: 流河旱树    时间: 2017-6-19 20:01
我是用APP北岸的 方便不少
作者: Admins    时间: 2017-6-19 20:11
提示: 作者被禁止或删除 内容自动屏蔽
作者: aumfoo    时间: 2017-6-19 20:14
额 还是我们四川管局快 新增北岸2天下号
作者: 哎呀    时间: 2017-6-19 20:35
阿里云一周过
作者: 身无分文的5毛钱    时间: 2017-6-19 20:49
阿里企业北岸 审核时间20天
作者: ayue168    时间: 2017-6-19 21:17


不想说啥.现在还在变更中..
作者: gllxx    时间: 2017-6-19 21:29
北岸?不存在的




欢迎光临 全球主机交流论坛 (https://sunk.eu.org/) Powered by Discuz! X3.4